| View previous topic :: View next topic |
| Author |
Message |
atxwake Soul Rider


Joined: 14 Jan 2003 Posts: 284 City: Austin Texas
|
Posted: May 01, 2003 8:01 am Post subject: MC X-Series Owners.... |
|
|
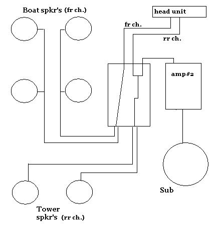
Ok here's the deal. We have an X-10 with the standard clarion system, amp, sub, etc. We have two tower speakers and a new amp to add in the mix. First off does anybody know if the clarion amp in MC's has a set of RCA's for "amp out" so we can hook the second amp up? I know the deck dosent have any, I already looked at it. The following diagram is for if the Clarion amp has "amp outs," let me know if it looks good.
Ryan

|
| Description: |
|
| Filesize: |
55.6 KB |
| Viewed: |
1926 Time(s) |
_________________ Im going muddin at waketoberfest 2004
"AGB follower since 03" |
|
| Back to top |
|
 |
|
|
mc_driver Criminal


Joined: 24 Mar 2003 Posts: 84 City: SF Bay Area
|
Posted: May 01, 2003 10:15 am Post subject: |
|
|
Mine does...Your picture is similar to my config, as well. Doesn't yours have two sets of RCA outputs from the HU - 1 set each for front and rear?
Since I use the 2 sets of RCA's from the HU to amp, I drive the boat speakers with the front channel, tower speakers with rear channel, and extra RCA's daisy-chained to amp#2 to drive my sub. In this config I can use the fader to control volume in the boat, so I don't cause ear bleed.
Great graphic, btw!!!
Ral
|
|
| Back to top |
|
 |
ORIG. FRG Outlaw

Joined: 25 Feb 2003 Posts: 122 City: Fox River Grove
|
Posted: May 01, 2003 10:22 am Post subject: |
|
|
| I finally just pulled the Clarion crap out of my boat, GOD does it sound better
|
|
| Back to top |
|
 |
Spyplane8 Outlaw


Joined: 10 Feb 2003 Posts: 228
|
Posted: May 01, 2003 10:34 am Post subject: |
|
|
You dont need a second set of RCA outputs. You can use a Y adapter. You will be getting the same signal. All you are trying to do is get low level audio to the amp so you can boost it.
_________________ Fire it up!!!!
www.gilbertlake.net
www.directrider.com |
|
| Back to top |
|
 |
atxwake Soul Rider


Joined: 14 Jan 2003 Posts: 284 City: Austin Texas
|
Posted: May 01, 2003 10:38 am Post subject: |
|
|
ahhhhhhhh, that make sense now!!!!!!!!! Ok but then how do I control the volume seperately from the componets? If I use a Y adapter wont they be on the same front/rear channel?
_________________ Im going muddin at waketoberfest 2004
"AGB follower since 03" |
|
| Back to top |
|
 |
mc_driver Criminal


Joined: 24 Mar 2003 Posts: 84 City: SF Bay Area
|
Posted: May 01, 2003 11:09 am Post subject: |
|
|
| Here's a crude graphic of my setup. (yeah....the ohm's are mismatched between f and r, but it's stable enough for the time being). Anyway, my understanding of the circuitry is depicted in the here....the additional RCA take the low-level input from the rear channel. Hope this helps.
|
|
| Back to top |
|
 |
mc_driver Criminal


Joined: 24 Mar 2003 Posts: 84 City: SF Bay Area
|
Posted: May 01, 2003 11:10 am Post subject: |
|
|
here it is.....

|
| Description: |
|
| Filesize: |
20.71 KB |
| Viewed: |
1822 Time(s) |
|
|
| Back to top |
|
 |
west coast boarder Addict


Joined: 09 Mar 2003 Posts: 558 City: Nor Cal
|
Posted: May 01, 2003 11:10 am Post subject: |
|
|
Atxwake,
I have an X-10 like you with the same setup. I put tower speakers on and ran an amp that connected to the clarion. the problem is it was a Y-connect you can't adjust the volume of the tower speakers with out the interior speakers going up also.
_________________ NOR*CAL |
|
| Back to top |
|
 |
atxwake Soul Rider


Joined: 14 Jan 2003 Posts: 284 City: Austin Texas
|
Posted: May 01, 2003 11:27 am Post subject: |
|
|
Does that standard clarion radio have 2 sets of RCA's or one? how do i connect it to the rear channel, I know that the factory stuff is on the front channel, but how do i tie the tower speaks, and the seperate amp into the rear channel?
_________________ Im going muddin at waketoberfest 2004
"AGB follower since 03" |
|
| Back to top |
|
 |
mc_driver Criminal


Joined: 24 Mar 2003 Posts: 84 City: SF Bay Area
|
Posted: May 01, 2003 12:50 pm Post subject: |
|
|
| I suppose, in your case, add an RCA cable from the head unit's "extra" (RCA out) directly to your second amp. You will have full functionality of the "fader" option between front and rear (boat speakers and tower speakers, respectively)
|
|
| Back to top |
|
 |
r3612 Soul Rider

Joined: 14 Jan 2003 Posts: 346 City: Chicago IL
|
Posted: May 01, 2003 2:44 pm Post subject: |
|
|
If you are looking for a way to adjust the tower speakers by themselves without adjustin the in boat speakers Here a perfects way. And it's simple. PAC aduio makes a little dial (volume control) tha goes between the rca outputs to the amp. You put this in between and you can adjust the tower speaker level on its own. I had it on my old boat and it worked great. PHEATON is actually the one who informed me of this little device if I recall correctly. I can't remember the name of it, but I hope he won'y mind me giving his name out for you to ask him.
Kris
|
|
| Back to top |
|
 |
|
|
|